成都逍遥耍耍网论坛,天津-凤江湖论坛春风阁(全国信息) ,一品香论坛登录入口风楼阁交友平台 ,快活林信息发布论坛汇总

³äµçÆ÷оƬ°¢Àï°Í°ÍµêÆÌ ¿ª¹ØµçԴоƬ¹Ø×¢æê΢ µç»úÇý¶¯Ð¾Æ¬ÊÕ²Øæê΢ »¶Ó­½øÈëµçԴоƬ/Çý¶¯Ð¾Æ¬¡¢MOS¡¢IGBT¡¢¶þÈý¼«¹Ü¡¢ÇŶѵȵç×ÓÔªÆ÷¼þ´úÀíÉÌ--æê΢µç×Ó¹ÙÍø
¸ß¼¶ËÑË÷

ËÑË÷Ò»

ËÑË÷¶þ

³äµç¹ÜÀíIC·½°¸

ÍÆ¼ö²úÆ·

ÁªÏµÎÒÃÇ

¿ª¹ØµçԴоƬ
ÉîÛÚÊÐæê΢µç×ӿƼ¼ÓÐÏÞ¹«Ë¾

µç»°£º0755-23087599

ÊÖ»ú£º13808858392

ÓÊÏ䣺dunianhua@leweitech.com

µØÖ·£ºÉîÛÚÊб¦°²ÇøÎ÷Ïçº×ÖÞºã·á¹¤Òµ³ÇB11¶°5Â¥¶«

prevnext

PN8034_12V·Ç¸ôÀëacdcоƬ

ËùÊô·ÖÀࣺChipown/оÅó΢
Æ·ÅÆ£ºÐ¾Åó΢
ÐͺţºPN8034
·â×°£ºDIP8
¹¦ÂÊ£º3.6W
µçÁ÷£º300mA
¶©¹ºÈÈÏߣº0755-23087599
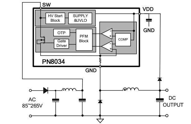
¡¡¡¡PN8034¼¯³ÉPFM¿ØÖÆÆ÷¼°650V¸ßÑ©±ÀÄÜÁ¦ÖÇÄܹ¦ÂÊMOSFET£¬ÓÃÓÚÍâΧԪÆ÷¼þ¼«¾«¼òµÄС¹¦ÂʷǸôÀ뿪¹ØµçÔ´¡£PN8034·Ç¸ôÀëacdcоƬÄÚÖøßѹÆô¶¯Ä£¿é£¬ÊµÏÖϵͳ¿ìËÙÆô¶¯¡¢³¬µÍ´ý»ú¹¦ÄÜ¡£¸ÃоƬÌṩÁËÍêÕûµÄÖÇÄÜ»¯±£»¤¹¦ÄÜ£¬°üÀ¨¹ýÁ÷±£»¤£¬Ç·Ñ¹±£»¤£¬¹ýα£»¤¡£ÁíÍâPN8034µÄ½µÆµµ÷ÖÆ¼¼ÊõÓÐÖúÓÚ¸ÄÉÆEMIÌØÐÔ¡£
¡¡¡¡
¡¡¡¡pn8034µçÔ´Ð¾Æ¬ÌØÕ÷¡¡¡¡
¡¡¡¡¡ö ÄÚÖÃ650V¸ßÑ©±ÀÄÜÁ¦ÖÇÄܹ¦ÂÊMOSFET¡¡¡¡
¡¡¡¡¡ö ÄÚÖøßѹÆô¶¯µç·¡¡¡¡
¡¡¡¡¡ö ÓÅ»¯ÊÊÓÃÓÚ12VÊä³ö·Ç¸ôÀëÓ¦Óá¡¡¡
¡¡¡¡¡ö DIP-7·â×°°ë·â±ÕʽÎÈ̬Êä³ö¹¦ÂÊ3.6W @230VAC¡¡¡¡
¡¡¡¡¡ö SOP-7·â×°°ë·â±ÕʽÎÈ̬Êä³ö¹¦ÂÊ3.0W @230VAC¡¡¡¡
¡¡¡¡¡ö ¸ÄÉÆEMIµÄ½µÆµµ÷ÖÆ¼¼Êõ¡¡¡¡
¡¡¡¡¡ö ÓÅÒìµÄ¸ºÔص÷ÕûÂʺ͹¤×÷ЧÂÊ¡¡¡¡
¡¡¡¡¡ö È«ÃæµÄ±£»¤¹¦ÄÜ£º¹ýÁ÷±£»¤£¨OCP£©¡¢¹ýα£»¤£¨OTP¡¢Ç·Ñ¹±£»¤£¨UVLO£©
¡¡¡¡
¡¡¡¡·â×°¼°µäÐ͹¦ÂÊ

²úÆ·ÐͺŠÊäÈëµçѹ ÎÈ̬¹¦ÂÊ ·åÖµ¹¦ÂÊ
PN8034 SOP-7 150-265 VAC 3W(12V250mA) 4.2W(12V350mA)
85-265 VAC 2.4W(12V200mA) 3.6W(12V300mA)
PN8034 DIP-7 150-265 VAC 3.6W(12V300mA) 4.8W(12V400mA)
85-265 VAC 3.0W(12V250mA) 4.2W(12V350mA)
¡¡¡¡
¡¡¡¡µäÐÍÓ¦ÓÃ
¡¡¡¡
¡¡¡¡Ó¦ÓÃÁìÓò¡¡¡¡
¡¡¡¡¡ö ·Ç¸ôÀ븨ÖúµçÔ´
¡¡¡¡
¡¡¡¡PN8034µçԴоƬÊÇ¿íÊä³ö·¶Î§·Ç¸ôÀë½»Ö±Á÷ת»»Ð¾Æ¬£¬µäÐÍÓ¦ÓÃÓÚ12V·Ç¸ôÀëÊä³ö ¾ßÓÐÁ¼ºÃµÄÌØÐÔÌáÉýÕû»úϵͳµÄÎȶ¨ÐÔ£¬½µµÍÕû»úʧЧÂÊ£¬¹ã·ºÓ¦ÓÃÓÚ¼ÒµçµçÔ´¡¢´ý»úµçÔ´µÈÁìÓò£¬¸ü¶àPN8034_12V·Ç¸ôÀëacdcоƬ²úÆ·ÊֲἰӦÓÃ×ÊÁÏÇëÏòæê΢µç×ÓÉêÇë¡£>>

²úÆ·ÖÐÐÄ ¹ØÓÚæê΢ ÁªÏµÎÒÃÇ